1. 麻豆视频下载,麻豆乱伦视频,麻豆AV成人在线观看,麻豆网站APP入口直在线观看

    联系麻豆视频下载 / contact us

    地址:上海市金山区枫泾镇环东一路
    邮编:201507
    网址:www.jhwfbzp.com
    销售部
    手机:13353397666
    电话:021-5648 6189
    传真:021-5186 1633
    商务QQ:3038069780

    SG系列麻豆AV成人在线观看

    当前位置:首页 > SG系列麻豆AV成人在线观看

    SG系列麻豆AV成人在线观看

    以下为系列产品选型范围,具体型号参考性能参数表

    口径范围 : 15-500(mm)

    流量范围 : 0.6-1200(m3/h)

    扬程范围 : 5-180m

    优势:

    品牌知名度高、质量可靠、终身维护

    常规产品现货供应

    订做产品交货及时


    产品概述
    性能参数
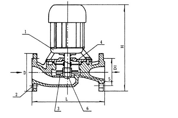
    结构图纸
    安装尺寸
    型号定义
    性能图谱
    注意事项

       该系列麻豆AV成人在线观看是为管道增压输送,解决管道压力过低而研制的新颖泵,比目前应用卧式离心泵具有很大的优越性。由于采用先进机械密封,电机主轴直接安装叶轮,故有效率高、耗电省、结构紧凑、体积小、重量轻、装修方便等特点,并可根据扬程与流量需要并串联使用。


    上一条信息:ISW单级单吸卧式管道离心泵         下一条信息:TPG型单级单吸立式管道离心泵
    网站地图